根据《第十二届贵州人才博览会贵阳贵安事业单位引进高层次及急需紧缺人才公告》《贵阳市引进高层次人才办法》(筑党办发〔2014〕25号)规定和《开阳县2024年引进高层次及急需紧缺人才线上线下评审工作方案》(开人社通〔2024〕12号)文件精神,现将开阳县融媒体中心第十二届人博会资格审核通过人员名单及线下(现场)评审相关事宜公告如下:
一、资格审核通过人员名单
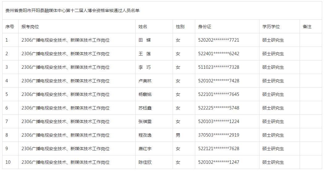
经过资格审核,开阳县融媒体中心广播电视安全技术、新媒体技术工作岗位通过资格审核共10人,具体名单详见《贵州省贵阳市开阳县融媒体中心第十二届人博会资格审核通过人员名单》。通过资格审核人员直接进入线下(现场)评审环节。
二、线下(现场)评审相关事宜
时 间:2024年5月20日上午9:00
地 点:贵阳市开阳县启钤大道6号融媒体中心二楼
形 式:采用线下(现场)提问方式进行,由主考官进行提问,对每位评审对象提问时间不超过3分钟。
内 容:重点围绕参加评审人员的政治素质、专业能力素养和综合素质进行考评,每位评审对象评审时间原则上不超过20分钟。
结果运用:线下(现场)评审的成绩按百分制进行打分,评审专家打分按照去掉一个最高分和一个最低分,将其余评审专家的分数相加后取平均分(取小数点后2位,小数点后第3位四舍五入),即为评审对象综合评分。根据线下(现场)评审得分由高到低的原则,结合评审对象引进意愿,进入体检环节。
线下(现场)评审要求:参加线下(现场)评审人员必须凭本人有效二代居民身份证、硕士研究生毕业证书、学位证书原件参加评审,2024届高校毕业生未取得学位证、毕业证的,需提供就业推荐表,并主动配合身份验证核查。
三、联系方式
咨询电话:0851-87220151
联系时间:工作日
上午09:00至12:00
下午2:00至5:00
附件:贵州省贵阳市开阳县融媒体中心第十二届人博会资格审核通过人员名单
